Your dashboard services.
Register to access all tools.

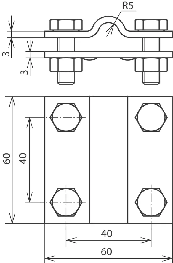
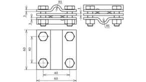
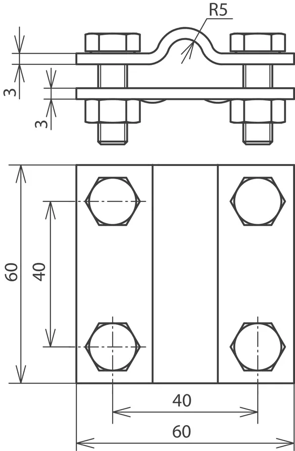
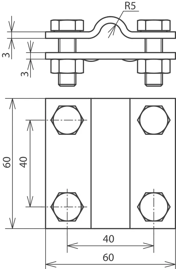
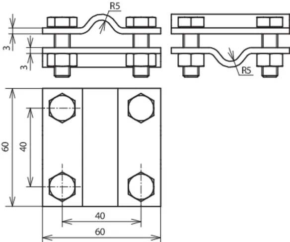
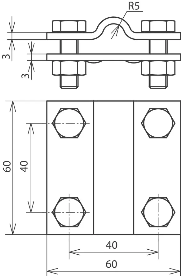
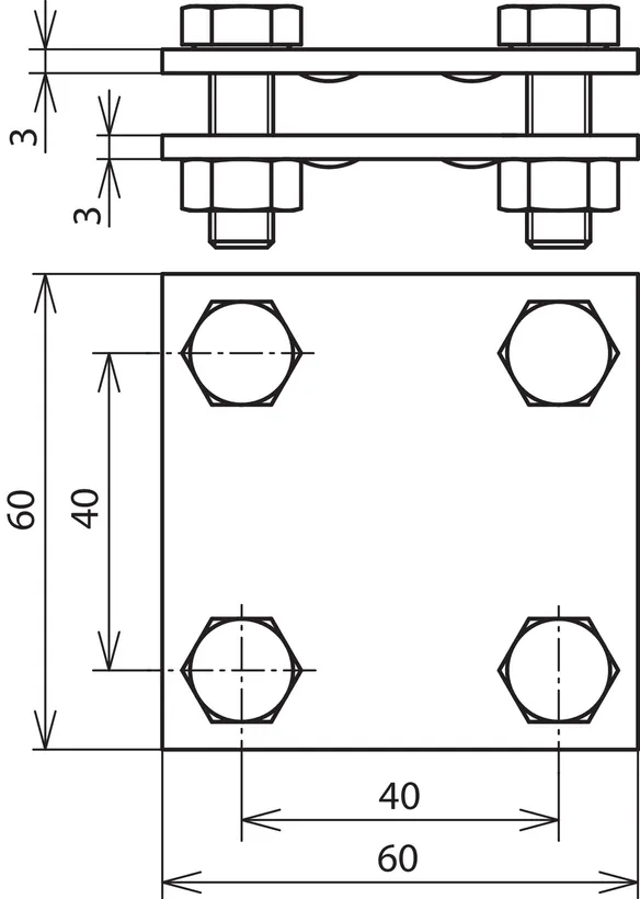
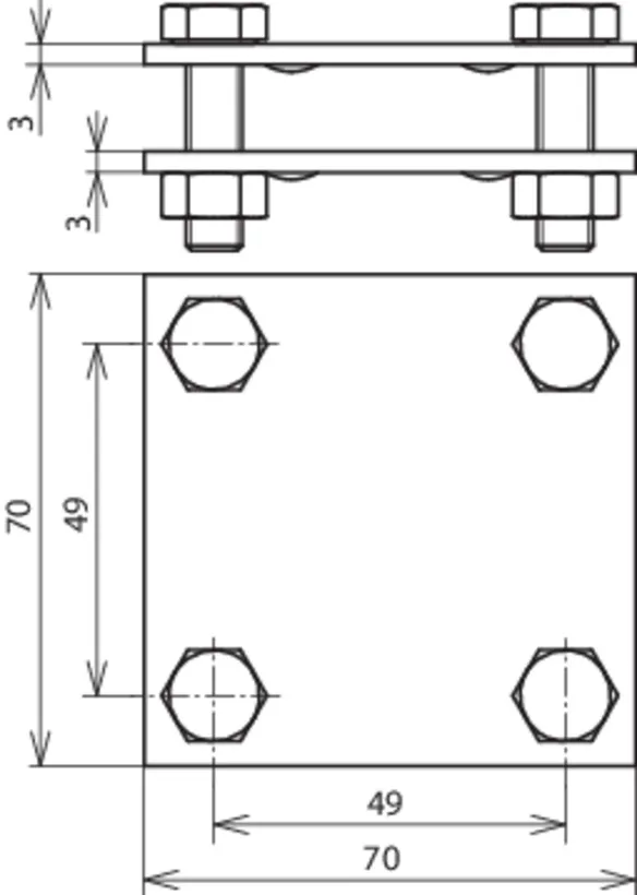
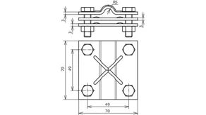
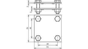
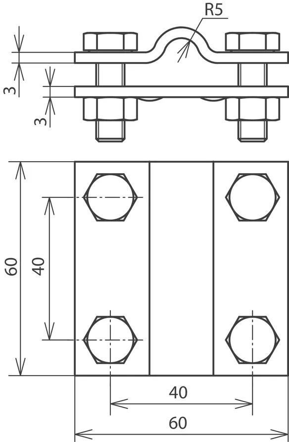
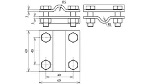
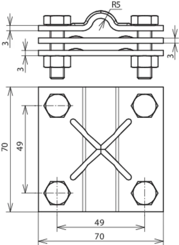
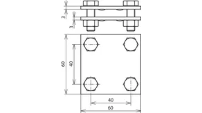
Zaciski krzyżowe do połączeń naziemnych i podziemnych

Do przewodów w układzie krzyżowym, równoległym i T-kształtnym.

Z płytką pośrednią, do drutu i płaskownika

3 Produkty

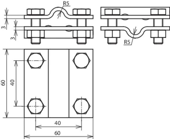
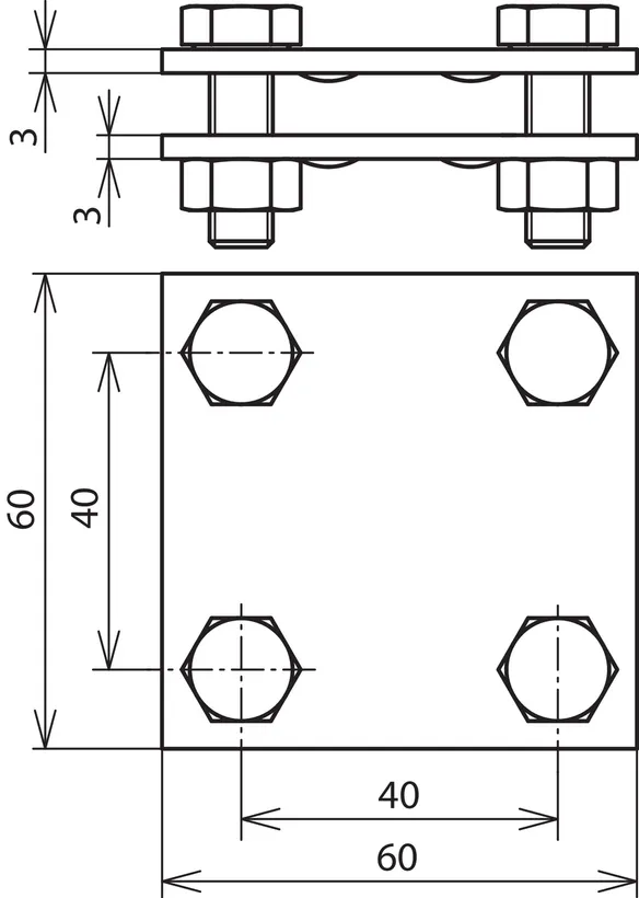
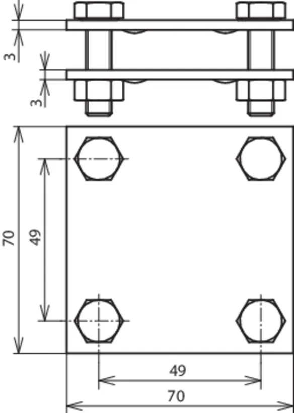
Nr kat. 319201 KS 8.10 8.10 FL30 ZP STTZN

GTIN / EAN 4013364024519, Nr taryfy celnej (EU): 85359000, Waga brutto: 324.00 g, Jednostka opakowaniowa: 25.00 szt.


Rysunki

Informacje dodatkowe

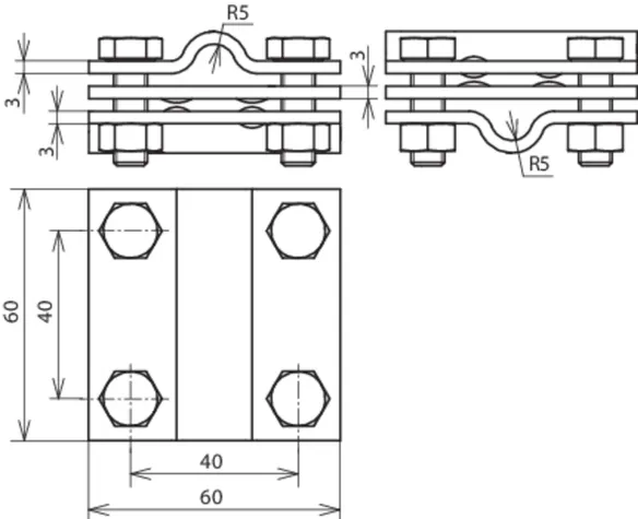
Zaciski krzyżowe z płytką pośrednią, do drutów okrągłych i płaskowników, stal HDG
Zaciski krzyżowe do połączeń naziemnych i
podziemnych,
do łączenia przewodów
w układzie krzyżowym, równoległym i T-kształtnym
Materiał zacisku: St/tZn
Zakres zacisku drut / drut: 8-10 / 8-10 mm
Zakres zacisku drut / płaskownik: 8-10 / 30 mm
Zakres zacisku płaskownik / płaskownik: 30 / 30 mm
Materiał śruby / nakrętki: St/tZn
Płytka pośrednia: tak
Spełnia wymagania normy: DIN EN 62561-1

Producent: DEHN
Typ: KS 8.10 8.10 FL30 ZP STTZN
Nr kat.: 319201
lub podobny.

Certyfikaty

 

Dane techniczne

Materiał zacisku St/tZn
Zakres zacisku drut / drut 8-10 / 8-10 mm
Zakres zacisku drut / płaskownik 8-10 / 30 mm
Zakres zacisku płaskownik / płaskownik 30 / 30 mm
Wymiary 60 x 60 x 3 mm
Spełnia wymagania normy DIN EN 62561-1
Prąd zwarciowy (AC 50 Hz / DC) (1 s; ≤ 300°C) 14 kA
*) Dokładne przyporządkowanie znajduje się w certyfikacie testu.

Produkt 319201 został dodany do notatnika.

Do koszyka dodano produkt 319201.

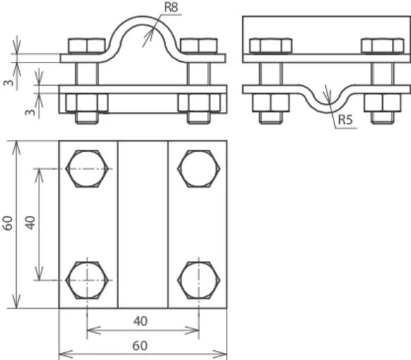
Nr kat. 319207 KS 8.10 8.10 FL30 ZP CU

GTIN / EAN 4013364020047, Nr taryfy celnej (EU): 85359000, Waga brutto: 353.00 g, Jednostka opakowaniowa: 25.00 szt.


Rysunki

Informacje dodatkowe

Zaciski krzyżowe z płytką pośrednią, do drutów okrągłych i płaskowników, miedź
Zaciski krzyżowe do połączeń naziemnych i
podziemnych,
do łączenia przewodów
w układzie krzyżowym, równoległym i T-kształtnym
Materiał zacisku: Cu
Zakres zacisku drut / drut: 8-10 / 8-10 mm
Zakres zacisku drut / płaskownik: 8-10 / 30 mm
Zakres zacisku płaskownik / płaskownik: 30 / 30 mm
Materiał śruby / nakrętki: stal nierdz. (V4A)
Nr materiału: 1.4571 / 1.4404 / 1.4401
Płytka pośrednia: tak
Spełnia wymagania normy: DIN EN 62561-1

Producent: DEHN
Typ: KS 8.10 8.10 FL30 ZP CU
Nr kat.: 319207
lub podobny.

Certyfikaty

 

Dane techniczne

Materiał zacisku Cu
Zakres zacisku drut / drut 8-10 / 8-10 mm
Zakres zacisku drut / płaskownik 8-10 / 30 mm
Zakres zacisku płaskownik / płaskownik 30 / 30 mm
Zakres zacisku (drut / linka) 35-70 mm2
Wymiary 60 x 60 x 3 mm
Spełnia wymagania normy DIN EN 62561-1
Prąd zwarciowy (AC 50 Hz / DC) (1 s; ≤ 300°C) 29 kA
*) Dokładne przyporządkowanie znajduje się w certyfikacie testu.

Produkt 319207 został dodany do notatnika.

Do koszyka dodano produkt 319207.

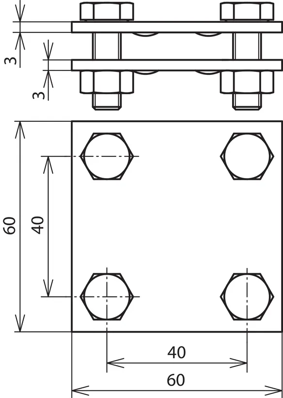
Nr kat. 319209 KS 8.10 8.10 FL30 ZP V4A

GTIN / EAN 4013364035980, Nr taryfy celnej (EU): 85359000, Waga brutto: 316.90 g, Jednostka opakowaniowa: 25.00 szt.


Rysunki

Informacje dodatkowe

Zaciski krzyżowe z płytką pośrednią, do drutów okrągłych i płaskowników, stal nierdzewna (V4A)
Zaciski krzyżowe do połączeń naziemnych i
podziemnych,
do łączenia przewodów
w układzie krzyżowym, równoległym i T-kształtnym

Materiał zacisku: stal nierdz. (V4A)
Zakres zacisku drut / drut: 8-10 / 8-10 mm
Zakres zacisku drut / płaskownik: 8-10 / 30 mm
Zakres zacisku płaskownik / płaskownik: 30 / 30 mm
Materiał śruby / nakrętki: stal nierdz. (V4A)
Nr materiału: 1.4571 / 1.4404 / 1.4401
Płytka pośrednia: tak
Spełnia wymagania normy: DIN EN 62561-1

Producent: DEHN
Typ: KS 8.10 8.10 FL30 ZP V4A
Nr kat.: 319209
lub podobny.

Certyfikaty

 

Dane techniczne

Materiał zacisku stal nierdz. (V4A)
Zakres zacisku drut / drut 8-10 / 8-10 mm
Zakres zacisku drut / płaskownik 8-10 / 30 mm
Zakres zacisku płaskownik / płaskownik 30 / 30 mm
Zakres zacisku (drut / linka) 35-70 mm2
Wymiary 60 x 60 x 3 mm
Spełnia wymagania normy DIN EN 62561-1
Prąd zwarciowy (AC 50 Hz / DC) (1 s; ≤ 300°C) 7 kA
*) Dokładne przyporządkowanie znajduje się w certyfikacie testu.

Produkt 319209 został dodany do notatnika.

Do koszyka dodano produkt 319209.


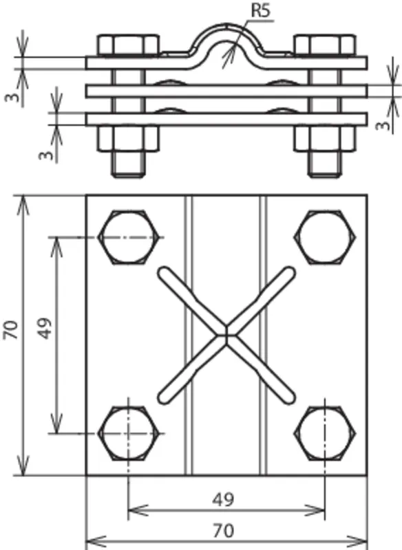
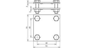
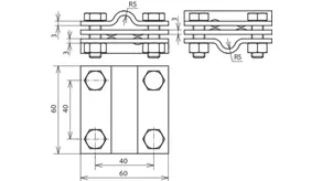
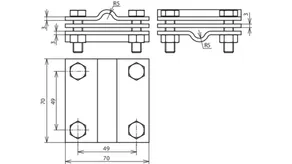
Z płytką pośrednią, do drutu i płaskownika do 40 mm

2 Produkty

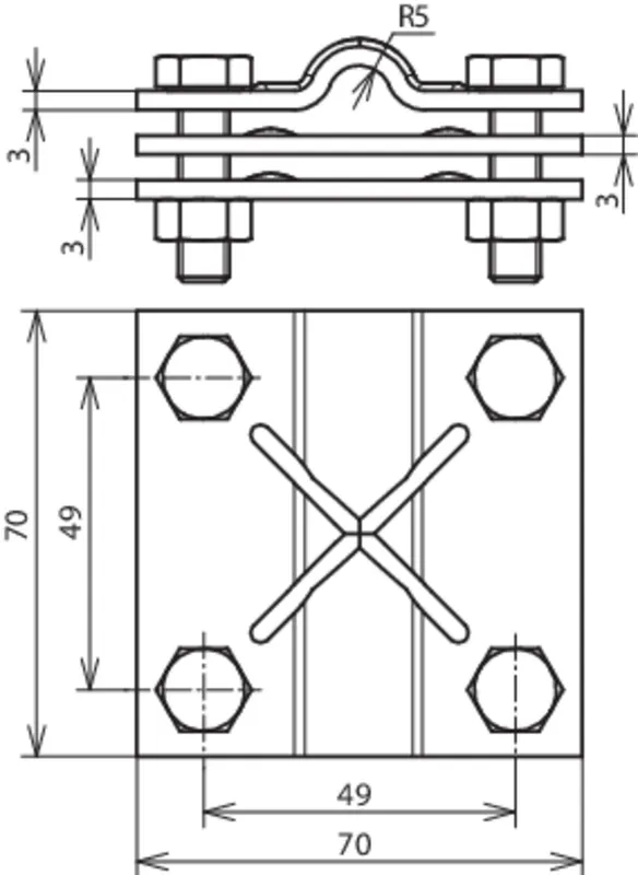
Nr kat. 321045 KS 8.10 FL40 STTZN

GTIN / EAN 4013364021518, Nr taryfy celnej (EU): 85359000, Waga brutto: 417.80 g, Jednostka opakowaniowa: 25.00 szt.


Rysunki

Informacje dodatkowe

Zaciski krzyżowe z płytką pośrednią, do drutu i płaskownika do 40 mm
Zaciski krzyżowe do połączeń naziemnych i
podziemnych,
do łączenia przewodów
w układzie krzyżowym, równoległym i T-kształtnym
Materiał zacisku: stal ocynkowana ogniowo
Zakres zacisku drut / płaskownik: 8-10 / 30-40 mm
Zakres zacisku płaskownik / płaskownik: 30-40 / 30-40 mm
Materiał śruby / nakrętki: stal ocynkowana ogniowo
Płytka pośrednia: tak
Spełnia wymagania normy: PN-EN 62561-1

Producent: DEHN
Typ: KS 8.10 FL40 STTZN
Nr kat.: 321045
lub podobny.

Certyfikaty

 

Dane techniczne

Materiał zacisku stal ocynkowana ogniowo
Zakres zacisku drut / płaskownik 8-10 / 30-40 mm
Zakres zacisku płaskownik / płaskownik 30-40 / 30-40 mm
Wymiary 70 x 70 x 3 mm
Spełnia wymagania normy PN-EN 62561-1
Prąd zwarciowy (AC 50 Hz / DC) (1 s; ≤ 300°C) 12,6 kA
*) Dokładne przyporządkowanie znajduje się w certyfikacie testu.

Produkt 321045 został dodany do notatnika.

Do koszyka dodano produkt 321045.

Nr kat. 321047 KS 8.10 FL40 CU

GTIN / EAN 4013364021525, Nr taryfy celnej (EU): 85359000, Waga brutto: 457.80 g, Jednostka opakowaniowa: 25.00 szt.


Rysunki

Informacje dodatkowe

Zaciski krzyżowe z płytką pośrednią, do drutu i płaskownika do 40 mm
Zaciski krzyżowe do połączeń naziemnych i
podziemnych,
do łączenia przewodów
w układzie krzyżowym, równoległym i T-kształtnym
Materiał zacisku: Cu
Zakres zacisku drut / płaskownik: 8-10 / 30-40 mm
Zakres zacisku płaskownik / płaskownik: 30-40 / 30-40 mm
Materiał śruby / nakrętki: stal nierdz. (V4A)
Nr materiału: 1.4571 / 1.4404 / 1.4401
Płytka pośrednia: tak
Spełnia wymagania normy: DIN EN 62561-1

Producent: DEHN
Typ: KS 8.10 FL40 CU
Nr kat.: 321047
lub podobny.

Certyfikaty

 

Dane techniczne

Materiał zacisku Cu
Zakres zacisku drut / płaskownik 8-10 / 30-40 mm
Zakres zacisku płaskownik / płaskownik 30-40 / 30-40 mm
Zakres zacisku (drut / linka) 35-120 mm2
Wymiary 70 x 70 x 3 mm
Spełnia wymagania normy DIN EN 62561-1
Prąd zwarciowy (AC 50 Hz / DC) (1 s; ≤ 300°C) 35,1 kA
*) Dokładne przyporządkowanie znajduje się w certyfikacie testu.

Produkt 321047 został dodany do notatnika.

Do koszyka dodano produkt 321047.


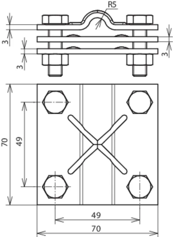
Z płytką pośrednią, do dwóch drutów i płaskownika do 40 mm

1 Produkt

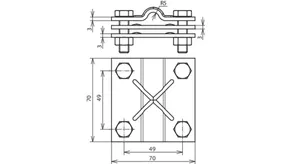
Nr kat. 319229 KS 7.10 7.10 FL40 ZP V4A

GTIN / EAN 4013364108752, Nr taryfy celnej (EU): 85359000, Waga brutto: 413.80 g, Jednostka opakowaniowa: 25.00 szt.


Rysunki

Informacje dodatkowe

Zaciski krzyżowe z płytką pośrednią, do dwóch drutów i płaskownika do 40 mm
Zaciski krzyżowe do połączeń naziemnych i
podziemnych,
do łączenia przewodów
w układzie krzyżowym, równoległym i T-kształtnym
z płytką pośrednią
do połączeń drut / płaskownik do 40 mm
Materiał zacisku: StSt (V4A)
Zakres zacisku drut / drut: 7-10 / 7-10 mm
Zakres zacisku drut / płaskownik: 7-10 / 30-40 mm
Zakres zacisku płaskownik / płaskownik: 30-40 / 30-40 mm
Materiał śruby / nakrętki: StSt (V4A)
Nr materiału: 1.4571 / 1.4404 / 1.4401
Płytka pośrednia: tak
Spełnia wymagania normy: EN 62561-1

Producent: DEHN
Typ: KS 7.10 7.10 FL40 ZP V4A
Nr kat.: 319229
lub podobny.

Certyfikaty

 

Dane techniczne

Materiał zacisku StSt (V4A)
Zakres zacisku drut / drut 7-10 / 7-10 mm
Zakres zacisku drut / płaskownik 7-10 / 30-40 mm
Zakres zacisku płaskownik / płaskownik 30-40 / 30-40 mm
Zakres zacisku (drut / linka) 35-95 mm2
Wymiary 70 x 70 x 3 mm
Spełnia wymagania normy EN 62561-1
Prąd zwarciowy (AC 50 Hz / DC) (1 s; ≤ 300°C) 5,0 kA
*) Dokładne przyporządkowanie znajduje się w certyfikacie testu.

Produkt 319229 został dodany do notatnika.

Do koszyka dodano produkt 319229.


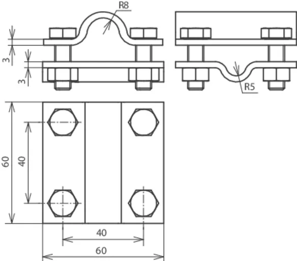
Z płytką pośrednią, do prętów uziemiających / iglic odgromowych

2 Produkty

Nr kat. 319202 KS 8.10 16 FL30 ZP STTZN

GTIN / EAN 4013364024526, Nr taryfy celnej (EU): 85359000, Waga brutto: 337.80 g, Jednostka opakowaniowa: 25.00 szt.


Rysunki

Informacje dodatkowe

Zaciski krzyżowe z płytką pośrednią, do prętów uziemiających / iglic odgromowych
Zaciski krzyżowe do połączeń naziemnych i
podziemnych,
do łączenia przewodów
w układzie krzyżowym, równoległym i T-kształtnym
do prętów uziemiających lub iglic odgromowych
Materiał zacisku: St/tZn
Zakres zacisku drut / drut: 16 / 8-10 mm
Zakres zacisku drut / płaskownik: 16 / 30 mm
Materiał śruby / nakrętki: St/tZn
Płytka pośrednia: tak
Spełnia wymagania normy: DIN EN 62561-1

Producent: DEHN
Typ: KS 8.10 16 FL30 ZP STTZN
Nr kat.: 319202
lub podobny.

Certyfikaty

 

Dane techniczne

Materiał zacisku St/tZn
Zakres zacisku drut / drut 16 / 8-10 mm
Zakres zacisku drut / płaskownik 16 / 30 mm
Wymiary 60 x 60 x 3 mm
Spełnia wymagania normy DIN EN 62561-1
*) Dokładne przyporządkowanie znajduje się w certyfikacie testu.

Produkt 319202 został dodany do notatnika.

Do koszyka dodano produkt 319202.

Nr kat. 319219 KS 8.10 16 FL30 ZP V4A

GTIN / EAN 4013364069916, Nr taryfy celnej (EU): 85359000, Waga brutto: 323.90 g, Jednostka opakowaniowa: 25.00 szt.


Rysunki

Informacje dodatkowe

Zaciski krzyżowe z płytką pośrednią, do prętów uziemiających / iglic odgromowych
Zaciski krzyżowe do połączeń naziemnych i
podziemnych,
do łączenia przewodów
w układzie krzyżowym, równoległym i T-kształtnym
do prętów uziemiających lub iglic odgromowych
Materiał zacisku: stal nierdz. (V4A)
Zakres zacisku drut / drut: 16 / 8-10 mm
Zakres zacisku drut / płaskownik: 16 / 30 mm
Materiał śruby / nakrętki: stal nierdz. (V4A)
Nr materiału: 1.4571 / 1.4404 / 1.4401
Płytka pośrednia: tak
Spełnia wymagania normy: DIN EN 62561-1

Producent: DEHN
Typ: KS 8.10 16 FL30 ZP V4A
Nr kat.: 319219
lub podobny.

Certyfikaty

 

Dane techniczne

Materiał zacisku stal nierdz. (V4A)
Zakres zacisku drut / drut 16 / 8-10 mm
Zakres zacisku drut / płaskownik 16 / 30 mm
Zakres zacisku (drut / linka) 35-120 mm2
Wymiary 60 x 60 x 3 mm
Spełnia wymagania normy DIN EN 62561-1
*) Dokładne przyporządkowanie znajduje się w certyfikacie testu.

Produkt 319219 został dodany do notatnika.

Do koszyka dodano produkt 319219.


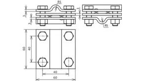
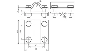
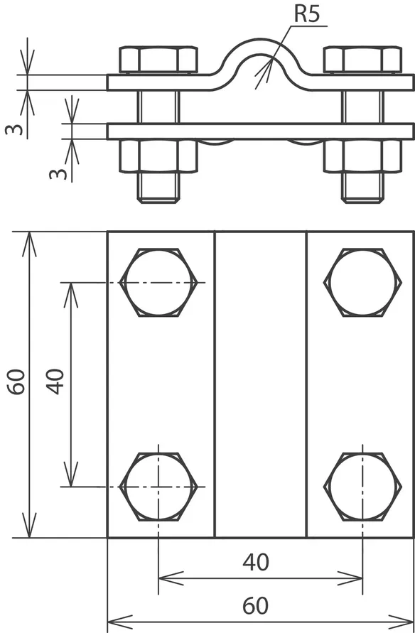
Bez płytki pośredniej, do drutu i płaskownika

3 Produkty

Nr kat. 318201 KS 8.10 FL30 STTZN

GTIN / EAN 4013364021464, Nr taryfy celnej (EU): 85359000, Waga brutto: 238.00 g, Jednostka opakowaniowa: 25.00 szt.


Rysunki

Informacje dodatkowe

Zaciski krzyżowe bez płytki pośredniej, do drutu i płaskownika, stal HDG
Zaciski krzyżowe do połączeń naziemnych i
podziemnych,
do łączenia przewodów
w układzie krzyżowym, równoległym i T-kształtnym
Materiał zacisku: St/tZn
Zakres zacisku drut / płaskownik: 8-10 / 30 mm
Zakres zacisku płaskownik / płaskownik: 30 / 30 mm
Materiał śruby / nakrętki: St/tZn
Spełnia wymagania normy: DIN EN 62561-1

Producent: DEHN
Typ: KS 8.10 FL30 STTZN
Nr kat.: 318201
lub podobny.

Certyfikaty

 

Dane techniczne

Materiał zacisku St/tZn
Zakres zacisku drut / płaskownik 8-10 / 30 mm
Zakres zacisku płaskownik / płaskownik 30 / 30 mm
Wymiary 60 x 60 x 3 mm
Spełnia wymagania normy DIN EN 62561-1
Prąd zwarciowy (AC 50 Hz / DC) (1 s; ≤ 300°C) 14 kA
*) Dokładne przyporządkowanie znajduje się w certyfikacie testu.

Produkt 318201 został dodany do notatnika.

Do koszyka dodano produkt 318201.

Nr kat. 318207 KS 8.10 FL30 CU

GTIN / EAN 4013364021488, Nr taryfy celnej (EU): 85359000, Waga brutto: 257.00 g, Jednostka opakowaniowa: 1.00 szt.


Rysunki

Informacje dodatkowe

Zaciski krzyżowe bez płytki pośredniej, do drutu i płaskownika, miedź
Zaciski krzyżowe do połączeń naziemnych i
podziemnych,
do łączenia przewodów
w układzie krzyżowym, równoległym i T-kształtnym
Materiał zacisku: Miedź
Zakres zacisku drut / płaskownik: 8-10 / 30 mm
Zakres zacisku płaskownik / płaskownik: 30 / 30 mm
Materiał śruby / nakrętki: stal nierdz. (V4A)
Nr materiału: 1.4571 / 1.4404 / 1.4401
Spełnia wymagania normy: DIN EN 62561-1

Producent: DEHN
Typ: KS 8.10 FL30 CU
Nr kat.: 318207
lub podobny.

Certyfikaty

 

Dane techniczne

Materiał zacisku Miedź
Zakres zacisku drut / płaskownik 8-10 / 30 mm
Zakres zacisku płaskownik / płaskownik 30 / 30 mm
Zakres zacisku (drut / linka) 35-120 mm2
Wymiary 60 x 60 x 3 mm
Spełnia wymagania normy DIN EN 62561-1
Prąd zwarciowy (AC 50 Hz / DC) (1 s; ≤ 300°C) 29 kA
*) Dokładne przyporządkowanie znajduje się w certyfikacie testu.

Produkt 318207 został dodany do notatnika.

Do koszyka dodano produkt 318207.

Nr kat. 318209 KS 8.10 FL30 V4A

GTIN / EAN 4013364035973, Nr taryfy celnej (EU): 85359000, Waga brutto: 249.40 g, Jednostka opakowaniowa: 25.00 szt.


Rysunki

Informacje dodatkowe

Zaciski krzyżowe bez płytki pośredniej, do drutu i płaskownika, stal nierdzewna (V4A)
Zaciski krzyżowe do połączeń naziemnych i
podziemnych,
do łączenia przewodów
w układzie krzyżowym, równoległym i T-kształtnym
Materiał zacisku: stal nierdz. (V4A)
Zakres zacisku drut / płaskownik: 8-10 / 30 mm
Zakres zacisku płaskownik / płaskownik: 30 / 30 mm
Materiał śruby / nakrętki: stal nierdz. (V4A)
Nr materiału: 1.4571 / 1.4404 / 1.4401
Spełnia wymagania normy: DIN EN 62561-1

Producent: DEHN
Typ: KS 8.10 FL30 V4A
Nr kat.: 318209
lub podobny.

Certyfikaty

 

Dane techniczne

Materiał zacisku stal nierdz. (V4A)
Zakres zacisku drut / płaskownik 8-10 / 30 mm
Zakres zacisku płaskownik / płaskownik 30 / 30 mm
Zakres zacisku (drut / linka) 35-120 mm2
Wymiary 60 x 60 x 3 mm
Spełnia wymagania normy DIN EN 62561-1
Prąd zwarciowy (AC 50 Hz / DC) (1 s; ≤ 300°C) 7,4 kA
*) Dokładne przyporządkowanie znajduje się w certyfikacie testu.

Produkt 318209 został dodany do notatnika.

Do koszyka dodano produkt 318209.


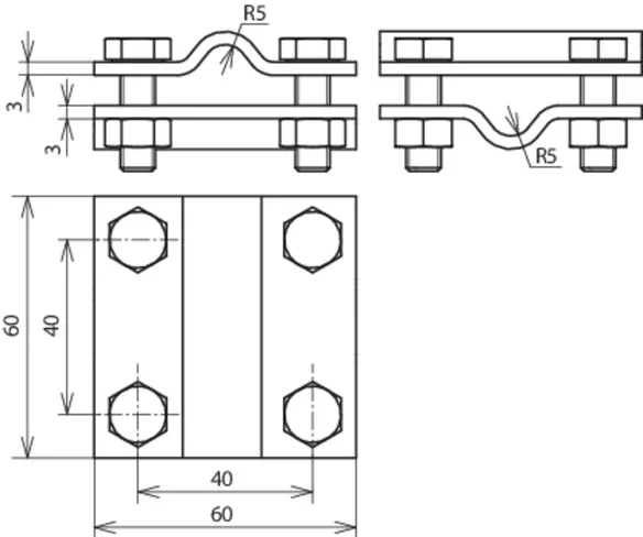
Bez płytki pośredniej, do dwóch drutów / płaskowników

2 Produkty

Nr kat. 318251 KS 8.10 8.10 FL30 STTZN

GTIN / EAN 4013364046559, Nr taryfy celnej (EU): 85359000, Waga brutto: 245.00 g, Jednostka opakowaniowa: 25.00 szt.


Rysunki

Informacje dodatkowe

Zaciski krzyżowe bez płytki pośredniej, do dwóch drutów i płaskowników, stal HDG
Zaciski krzyżowe do połączeń naziemnych i
podziemnych,
do łączenia przewodów
w układzie krzyżowym, równoległym i T-kształtnym
Materiał zacisku: St/tZn
Zakres zacisku drut / drut: 8-10 / 8-10 mm
Zakres zacisku drut / płaskownik: 8-10 / 30 mm
Zakres zacisku płaskownik / płaskownik: 30 / 30 mm
Materiał śruby / nakrętki: St/tZn
Spełnia wymagania normy: EN 62561-1

Producent: DEHN
Typ: KS 8.10 8.10 FL30 STTZN
Nr kat.: 318251
lub podobny.

Certyfikaty

 

Dane techniczne

Materiał zacisku St/tZn
Zakres zacisku drut / drut 8-10 / 8-10 mm
Zakres zacisku drut / płaskownik 8-10 / 30 mm
Zakres zacisku płaskownik / płaskownik 30 / 30 mm
Wymiary 60 x 60 x 3 mm
Spełnia wymagania normy EN 62561-1
Prąd zwarciowy (AC 50 Hz / DC) (1 s; ≤ 300°C) 14 kA
*) Dokładne przyporządkowanie znajduje się w certyfikacie testu.

Produkt 318251 został dodany do notatnika.

Do koszyka dodano produkt 318251.

Nr kat. 318219 KS 8.10 8.10 FL30 V4A

GTIN / EAN 4013364129320, Nr taryfy celnej (EU): 85359000, Waga brutto: 239.00 g, Jednostka opakowaniowa: 25.00 szt.


Rysunki

Informacje dodatkowe

Zaciski krzyżowe bez płytki pośredniej, do dwóch drutów i płaskowników, stal nierdzewna
Zaciski krzyżowe do połączeń naziemnych i
podziemnych,
do łączenia przewodów
w układzie krzyżowym, równoległym i T-kształtnym
Materiał zacisku: StSt (V4A)
Zakres zacisku drut / drut: 8-10 / 8-10 mm
Zakres zacisku drut / płaskownik: 8-10 / 30 mm
Zakres zacisku płaskownik / płaskownik: 30 / 30 mm
Materiał śruby / nakrętki: StSt (V4A)
Nr materiału: 1.4571 / 1.4404 / 1.4401
Spełnia wymagania normy: EN 62561-1

Producent: DEHN
Typ: KS 8.10 8.10 FL30 V4A
Nr kat.: 318219
lub podobny.

Certyfikaty

 

Dane techniczne

Materiał zacisku StSt (V4A)
Zakres zacisku drut / drut 8-10 / 8-10 mm
Zakres zacisku drut / płaskownik 8-10 / 30 mm
Zakres zacisku płaskownik / płaskownik 30 / 30 mm
Zakres zacisku (drut / linka) 35-120 mm2
Wymiary 60 x 60 x 3 mm
Spełnia wymagania normy EN 62561-1
Prąd zwarciowy (AC 50 Hz / DC) (1 s; ≤ 300°C) 7,4 kA
*) Dokładne przyporządkowanie znajduje się w certyfikacie testu.

Produkt 318219 został dodany do notatnika.

Do koszyka dodano produkt 318219.


Bez płytki pośredniej, do dwóch płaskowników

2 Produkty

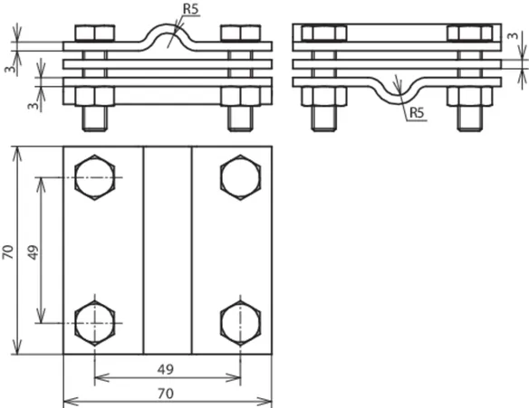
Nr kat. 318033 KS FL30 STTZN

GTIN / EAN 4013364021471, Nr taryfy celnej (EU): 85359000, Waga brutto: 240.00 g, Jednostka opakowaniowa: 25.00 szt.


Rysunki

Informacje dodatkowe

Zaciski krzyżowe bez płytki pośredniej, do dwóch płaskowników, stal HDG
Zaciski krzyżowe do połączeń naziemnych i
podziemnych,
do łączenia przewodów
w układzie krzyżowym, równoległym i T-kształtnym
Materiał zacisku: St/tZn
Zakres zacisku płaskownik / płaskownik: 30 / 30 mm
Materiał śruby / nakrętki: St/tZn
Spełnia wymagania normy: EN 62561-1

Producent: DEHN
Typ: KS FL30 STTZN
Nr kat.: 318033
lub podobny.

Certyfikaty

 

Dane techniczne

Materiał zacisku St/tZn
Zakres zacisku płaskownik / płaskownik 30 / 30 mm
Wymiary 60 x 60 x 3 mm
Spełnia wymagania normy EN 62561-1
Prąd zwarciowy (AC 50 Hz / DC) (1 s; ≤ 300°C) 8,4 kA
*) Dokładne przyporządkowanie znajduje się w certyfikacie testu.

Produkt 318033 został dodany do notatnika.

Do koszyka dodano produkt 318033.

Nr kat. 318233 KS FL30 V4A

GTIN / EAN 4013364096646, Nr taryfy celnej (EU): 85359000, Waga brutto: 229.30 g, Jednostka opakowaniowa: 25.00 szt.


Rysunki

Informacje dodatkowe

Zaciski krzyżowe bez płytki pośredniej, do dwóch płaskowników, stal nierdzewna (V4A)
Zaciski krzyżowe do połączeń naziemnych i
podziemnych,
do łączenia przewodów
w układzie krzyżowym, równoległym i T-kształtnym
Materiał zacisku: stal nierdz. (V4A)
Zakres zacisku płaskownik / płaskownik: 30 / 30 mm
Materiał śruby / nakrętki: stal nierdz. (V4A)
Nr materiału: 1.4571 / 1.4404 / 1.4401
Spełnia wymagania normy: DIN EN 62561-1

Producent: DEHN
Typ: KS FL30 V4A
Nr kat.: 318233
lub podobny.

Certyfikaty

 

Dane techniczne

Materiał zacisku stal nierdz. (V4A)
Zakres zacisku płaskownik / płaskownik 30 / 30 mm
Wymiary 60 x 60 x 3 mm
Spełnia wymagania normy DIN EN 62561-1
Prąd zwarciowy (AC 50 Hz / DC) (1 s; ≤ 300°C) 7,0 kA
*) Dokładne przyporządkowanie znajduje się w certyfikacie testu.

Produkt 318233 został dodany do notatnika.

Do koszyka dodano produkt 318233.


Bez płytki pośredniej, do dwóch płaskowników do 40 mm

1 Produkt

Nr kat. 320044 KS FL40 STTZN

GTIN / EAN 4013364021501, Nr taryfy celnej (EU): 85359000, Waga brutto: 305.80 g, Jednostka opakowaniowa: 25.00 szt.


Rysunki

Informacje dodatkowe

Zaciski krzyżowe bez płytki pośredniej, do dwóch płaskowników do 40 mm, stal HDG
Zaciski krzyżowe do połączeń naziemnych i
podziemnych,
do łączenia przewodów
w układzie krzyżowym, równoległym i T-kształtnym
Materiał zacisku: St/tZn
Zakres zacisku płaskownik / płaskownik: 30-40 / 30-40 mm
Materiał śruby / nakrętki: St/tZn
Spełnia wymagania normy: DIN EN 62561-1

Producent: DEHN
Typ: KS FL40 STTZN
Nr kat.: 320044
lub podobny.

Certyfikaty

 

Dane techniczne

Materiał zacisku St/tZn
Zakres zacisku płaskownik / płaskownik 30-40 / 30-40 mm
Wymiary 70 x 70 x 3 mm
Spełnia wymagania normy DIN EN 62561-1
Prąd zwarciowy (AC 50 Hz / DC) (1 s; ≤ 300°C) 12,6 kA
*) Dokładne przyporządkowanie znajduje się w certyfikacie testu.

Produkt 320044 został dodany do notatnika.

Do koszyka dodano produkt 320044.


Bez płytki pośredniej, do prętów uziemiających / iglic odgromowych

1 Produkt

Nr kat. 318252 KS 8.10 16 FL30 STTZN

GTIN / EAN 4013364048454, Nr taryfy celnej (EU): 85359000, Waga brutto: 255.80 g, Jednostka opakowaniowa: 25.00 szt.


Rysunki

Informacje dodatkowe

Zaciski krzyżowe bez płytki pośredniej do prętów uziemiających / iglic odgromowych
Zaciski krzyżowe do połączeń naziemnych i
podziemnych,
do łączenia przewodów
w układzie krzyżowym, równoległym i T-kształtnym
Materiał zacisku: St/tZn
Zakres zacisku drut / drut: 8-10 / 16 mm
Zakres zacisku drut / płaskownik: 16 / 30 mm
Materiał śruby / nakrętki: St/tZn
Spełnia wymagania normy: DIN EN 62561-1

Producent: DEHN
Typ: KS 8.10 16 FL30 STTZN
Nr kat.: 318252
lub podobny.

Certyfikaty

 

Dane techniczne

Materiał zacisku St/tZn
Zakres zacisku drut / drut 8-10 / 16 mm
Zakres zacisku drut / płaskownik 16 / 30 mm
Wymiary 60 x 60 x 3 mm
Spełnia wymagania normy DIN EN 62561-1
*) Dokładne przyporządkowanie znajduje się w certyfikacie testu.

Produkt 318252 został dodany do notatnika.

Do koszyka dodano produkt 318252.


Powrót na górę