Your dashboard services.
Register to access all tools.

Rura wsporcza z przewodem HVI power

Przewód odprowadzający o izolacji wysokonapięciowej pozwalający zachować odstęp separujący od elementów przewodzących prąd zgodnie z DIN EN 62305-3 (VDE 0185-305-3).
Możliwość stosowania do ekwiwalentnego odstępu separującego s ≤ 90 cm (w powietrzu) albo s ≤ 180 cm (materiał stały).

Przewód HVI power jest ułożony wewnątrz rury wsporczej, co daje atrakcyjny efekt wizualny o niewielkiej powierzchni wystawionej na działanie wiatru.

Minimalna długość do zamówienia wynosi 6 m. Długość przewodu należy określić przy składaniu zamówienia.
Artykuł jest produkowany na zamówienie (konfekcjonowanie długości przewodu), dlatego w tym przypadku nie przysługuje prawo zwrotu.

Długość przewodu należy podać podczas składania zamówienia (co 0,5 m).

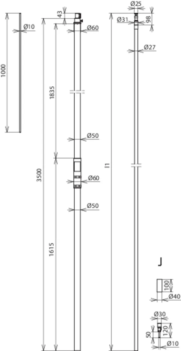
Przewód HVI power w rurze wsporczej z iglicą odgromową

Rura wsporcza z końcówką przyłączeniową wewnątrz i wyrównawczym elementem sprężynowym.
Iglica odgromowa ze stali nierdzewnej, Ø10 mm, długość 1000 mm.

1 Produkt

Nr kat. 819430 HVI P 27 L6M SR3500 FSP1000 GFK V2A

GTIN / EAN 4013364152236, Nr taryfy celnej (EU): 85389099, Waga brutto: 16.00 kg, Jednostka opakowaniowa: 1.00 szt.


Rysunki

Informacje dodatkowe

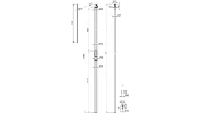
Przewód HVI power w rurze wsporczej, długość 3500 mm, GRP/stal nierdzewna
Przewód HVI power w rurze wsporczej
izolowany przewód odprowadzający o izolacji wysokonapięciowej pozwalający zachować
odstęp separujący od elementów przewodzących prąd
zgodnie z normą DIN EN 62305-3 (VDE 0185-305-3)
Ekwiwalentny odstęp separujący s =< 90 cm (w powietrzu)
albo s < 180 cm (materiał stały).
Rury wsporcze z przewodem HVI power są zwymiarowane zgodnie
z Eurokodem 1 (DIN EN 1991-1-4 + DIN EN 1991-1-4/NA).
Przewód HVI power ułożony w rurze wsporczej, ze specjalną
końcówką przyłączeniową wewnątrz i iglicą odgromową Ø10 mm, długość 1000 mm.
Materiał rury wsporczej: GRP / stal nierdzewna
Długość rury wsporczej: 3500 mm
Długość tranportowa: 3500 mm
Średnica przewodu Ø: 27 mm
Kolor przewodu: czarny ●
Materiał przewodu: Cu
Minimalna długość do zamówienia: 6 m
Maksymalna długość do zamówienia: 35 m
Maksymalna długość swobodna z iglicą odgromową (montaż naścienny): 3500 mm
Maksymalne obciążenie wiatrem: (maksymalna długość swobodna 3500 mm, 1x przewód HVI power wewnątrz) 234 km/h
Odniesienie do norm: DIN IEC/TS 62561-8 (VDE V 0185-561-8)

Producent: DEHN
Typ: HVI P 27 L6M SR3500 FSP1000 GFK V2A
Nr kat.: 819430
lub podobny.

Certyfikaty

 

Dane techniczne

Materiał rury wsporczej GRP / stal nierdzewna
Długość rury wsporczej 3500 mm
Długość tranportowa 3500 mm
Średnica przewodu Ø 27 mm
Kolor przewodu czarny ●
Materiał przewodu Cu
Minimalna długość do zamówienia 6 m
Maksymalna długość do zamówienia 35 m
Nadaje się do montażu na zewnątrz rury nie
Maksymalna długość swobodna z iglicą odgromową (montaż naścienny) 3500 mm
Odniesienie do norm DIN IEC/TS 62561-8 (VDE V 0185-561-8)

Produkt 819430 został dodany do notatnika.

Do koszyka dodano produkt 819430.


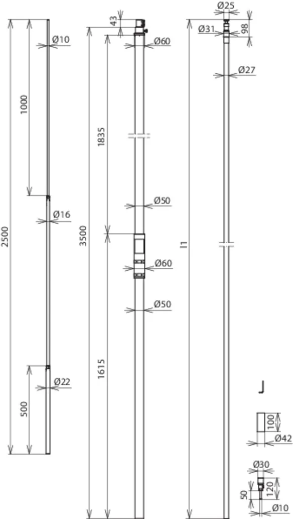
Przewód HVI power w rurze wsporczej z iglicą odgromową

Rura wsporcza z końcówką przyłączeniową wewnątrz i wyrównawczym elementem sprężynowym.
Iglica odgromowa ze stali nierdzewnej, Ø22 / 16 / 10 mm, długość 2500 mm.

2 Produkty

Nr kat. 819431 HVI P 27 L6M SR3500 FS2500 GFK V2A

GTIN / EAN 4013364155442, Nr taryfy celnej (EU): 85389099, Waga brutto: 17.60 kg, Jednostka opakowaniowa: 1.00 szt.


Rysunki

Informacje dodatkowe

Przewód HVI power w rurze wsporczej z iglicą odgromową Długość 3500 mm, GRP/stal nierdzewna
Przewód HVI power w rurze wsporczej
izolowany przewód odprowadzający o izolacji wysokonapięciowej pozwalający zachować
odstęp separujący od elementów przewodzących prąd
zgodnie z normą DIN EN 62305-3 (VDE 0185-305-3)
Ekwiwalentny odstęp separujący s =< 90 cm (w powietrzu)
albo s < 180 cm (materiał stały).
Rury wsporcze z przewodem HVI power są zwymiarowane zgodnie
z Eurokodem 1 (DIN EN 1991-1-4 + DIN EN 1991-1-4/NA).
Przewód HVI power ułożony w rurze wsporczej, ze specjalną
końcówką przyłączeniową wewnątrz i iglicą odgromową Ø22/16/10 mm, długość 2500 mm
Materiał rury wsporczej: GRP / stal nierdzewna
Długość rury wsporczej: 3500 mm
Długość tranportowa: 3500 mm
Średnica przewodu Ø: 27 mm
Kolor przewodu: czarny ●
Materiał przewodu: Cu
Minimalna długość do zamówienia: 6 m
Maksymalna długość do zamówienia: 35 m
Maksymalna długość swobodna z iglicą odgromową (montaż naścienny): 5000 mm
Maksymalne obciążenie wiatrem: (maksymalna długość swobodna 5000 mm, 1x przewód HVI power wewnątrz) 163 km/h
Odniesienie do norm: DIN IEC/TS 62561-8 (VDE V 0185-561-8)

Producent: DEHN
Typ: HVI P 27 L6M SR3500 FS2500 GFK V2A
Nr kat.: 819431
lub podobny.

Certyfikaty

 

Dane techniczne

Materiał rury wsporczej GRP / stal nierdzewna
Długość rury wsporczej 3500 mm
Długość tranportowa 3500 mm
Średnica przewodu Ø 27 mm
Kolor przewodu czarny ●
Materiał przewodu Cu
Minimalna długość do zamówienia 6 m
Maksymalna długość do zamówienia 35 m
Nadaje się do montażu na zewnątrz rury nie
Maksymalna długość swobodna z iglicą odgromową (montaż naścienny) 5000 mm
Odniesienie do norm DIN IEC/TS 62561-8 (VDE V 0185-561-8)

Produkt 819431 został dodany do notatnika.

Do koszyka dodano produkt 819431.

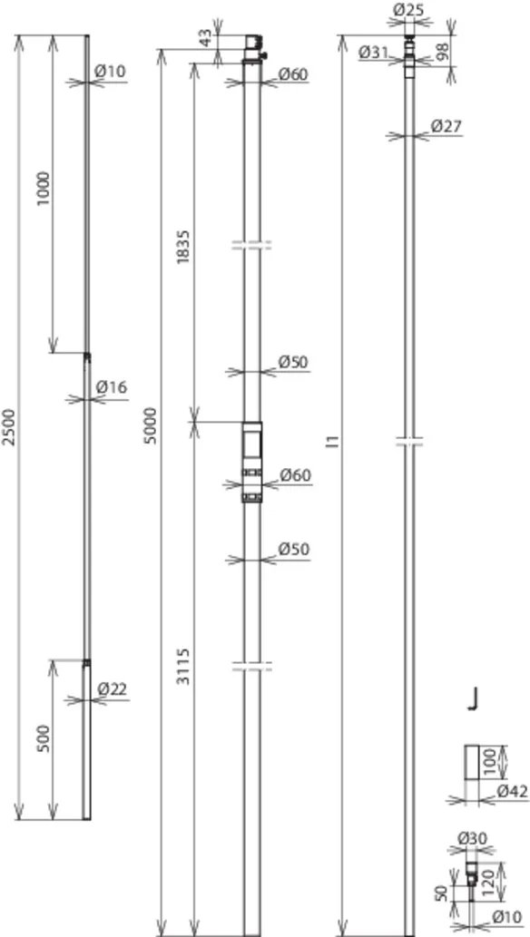
Nr kat. 819433 HVI P 27 L6M SR5000 FS2500 GFK V2A

GTIN / EAN 4013364155459, Nr taryfy celnej (EU): 85389099, Waga brutto: 21.60 kg, Jednostka opakowaniowa: 1.00 szt.


Rysunki

Informacje dodatkowe

Przewód HVI power w rurze wsporczej z iglicą odgromową Długość 5000 mm, GRP/stal nierdzewna
Przewód HVI power w rurze wsporczej
izolowany przewód odprowadzający o izolacji wysokonapięciowej pozwalający zachować
odstęp separujący od elementów przewodzących prąd
zgodnie z normą DIN EN 62305-3 (VDE 0185-305-3)
Ekwiwalentny odstęp separujący s =< 90 cm (w powietrzu)
albo s < 180 cm (materiał stały).
Rury wsporcze z przewodem HVI power są zwymiarowane zgodnie
z Eurokodem 1 (DIN EN 1991-1-4 + DIN EN 1991-1-4/NA).
Przewód HVI power ułożony w rurze wsporczej, ze specjalną
końcówką przyłączeniową wewnątrz i iglicą odgromową Ø22/16/10 mm, długość 2500 mm
Materiał rury wsporczej: GRP / stal nierdzewna
Długość rury wsporczej: 5000 mm
Długość tranportowa: 5000 mm
Średnica przewodu Ø: 27 mm
Kolor przewodu: czarny ●
Materiał przewodu: Cu
Minimalna długość do zamówienia: 6 m
Maksymalna długość do zamówienia: 35 m
Maksymalna długość swobodna z iglicą odgromową (montaż naścienny): 5500 mm
Maksymalne obciążenie wiatrem: (maksymalna długość swobodna 5500 mm, 1x przewód HVI power wewnątrz) 159 km/h
Odniesienie do norm: DIN IEC/TS 62561-8 (VDE V 0185-561-8)

Producent: DEHN
Typ: HVI P 27 L6M SR5000 FS2500 GFK V2A
Nr kat.: 819433
lub podobny.

Certyfikaty

 

Dane techniczne

Materiał rury wsporczej GRP / stal nierdzewna
Długość rury wsporczej 5000 mm
Długość tranportowa 5000 mm
Średnica przewodu Ø 27 mm
Kolor przewodu czarny ●
Materiał przewodu Cu
Minimalna długość do zamówienia 6 m
Maksymalna długość do zamówienia 35 m
Nadaje się do montażu na zewnątrz rury nie
Maksymalna długość swobodna z iglicą odgromową (montaż naścienny) 5500 mm
Odniesienie do norm DIN IEC/TS 62561-8 (VDE V 0185-561-8)

Produkt 819433 został dodany do notatnika.

Do koszyka dodano produkt 819433.


Powrót na górę