Your dashboard services.
Register to access all tools.

Iglice odgromowe z tworzywa sztucznego wzmacnianego włóknem szklanym / aluminium

Iglica odgromowa do tworzenia oddzielnych instalacji iglic odgromowych np. na dachach płaskich, ustawiana na podstawie betonowej do montażu klinowego.

Do określenia odstępu separującego (długość wspornika dystansującego) należy użyć współczynnika materiałowego km = 0,7.
Średnica 16 mm, odporna na promieniowanie UV, kolor jasnoszary, zakres temperatur pracy od -50 do +100 °C.

Iglice odgromowe są zwymiarowane z 2 podstawami betonowymi (waga 17 kg) zgodnie z Eurokodem 1 (DIN EN 1991-1-4 + DIN EN 1991-1-4/NA) .
Podstawę betonową do układania jedna na drugiej (nr art. 102 010) i podkładkę (nr art. 102 050) należy zamawiać oddzielnie.

Iglice odgromowe GRP/Al są zgodne w wymogami norm DIN/IEC TS 62561-8.

Wykonanie zaprasowane

2 Produkty

Nr kat. 106207 FS 16 10 1660 GFK AL

GTIN / EAN 4013364127623, Nr taryfy celnej (EU): 85389099, Waga brutto: 493.00 g, Jednostka opakowaniowa: 10.00 szt.


Rysunki

Informacje dodatkowe

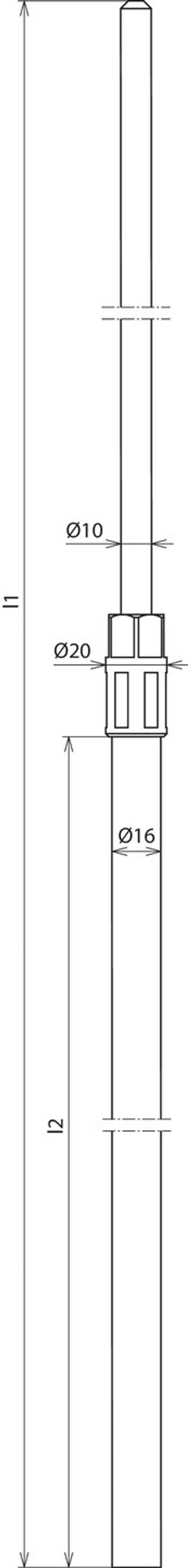
Iglica odgromowa GRP/Al, wykonanie zaprasowane, długość całkowita 1660 mm
Iglice odgromowe GRP/Al
do tworzenia oddzielnych instalacji iglic odgromowych np.
na dachach płaskich, ustawiana na podstawie betonowej do montażu klinowego.
Pozwala na zachowanie odstępu separującego zgodnie z normą DIN EN 62305-3 (VDE 0185-305-3).
Iglice odgromowe są zwymiarowane zgodnie z
Eurokodem 1 (DIN EN 1991-1-4 + DIN EN 1991-1-4/NA).
Wspornik dystansujący z tworzywa sztucznego wzmocnionego włóknem szklanym (GRP), Ø16 mm,
współczynnik materiałowy km = 0,7, odporna na promieniowanie UV, kolor jasnoszary
Wykonanie zaprasowane
Długość całkowita: 1660 mm
Długość izolacyjna: 635 mm
Materiał iglicy odgromowej / gniazda: Al
Materiał elementu dystansującego: GRP
Maksymalne obciążenie wiatrem (1 podstawa 17 kg, odstęp między uchwytami 1000 mm, aluminium Ø8 mm): 114 km/h
Maksymalne obciążenie wiatrem (2 podstawy 17 kg, odstęp między uchwytami 1000 mm, aluminium Ø8 mm): 129 km/h
Odniesienie do norm: DIN IEC/TS 62561-8 (VDE V 0185-561-8)

Producent: DEHN
Typ: FS 16 10 1660 GFK AL
Nr kat.: 106207
lub podobny.

Certyfikaty

 

Dane techniczne

Długość całkowita (l1) 1660 mm
Długość izolacyjna (l2) 635 mm
Materiał iglicy odgromowej / gniazda Al
Maksymalne obciążenie wiatrem (1 podstawa 17 kg, odstęp między uchwytami 1000 mm, aluminium Ø8 mm) 114 km/h
Maksymalne obciążenie wiatrem (2 podstawy 17 kg, odstęp między uchwytami 1000 mm, aluminium Ø8 mm) 129 km/h
Odniesienie do norm DIN IEC/TS 62561-8 (VDE V 0185-561-8)

Produkt 106207 został dodany do notatnika.

Do koszyka dodano produkt 106207.

Nr kat. 106210 FS 16 10 2000 GFK AL

GTIN / EAN 4013364127630, Nr taryfy celnej (EU): 85389099, Waga brutto: 625.00 g, Jednostka opakowaniowa: 10.00 szt.


Rysunki

Informacje dodatkowe

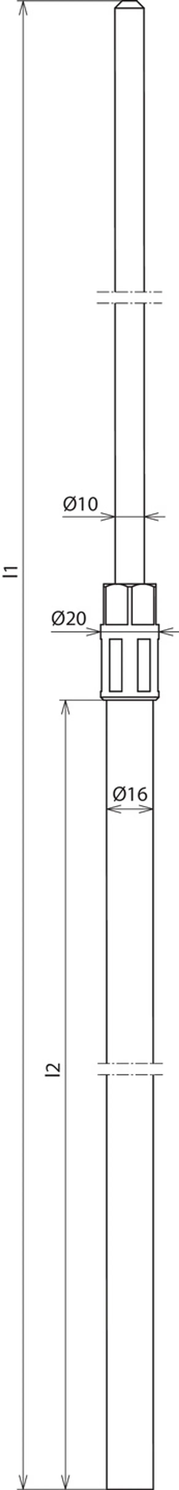
Iglica odgromowa GRP/Al, wykonanie zaprasowane, długość całkowita 2000 mm
Iglice odgromowe GRP/Al
do tworzenia oddzielnych instalacji iglic odgromowych np.
na dachach płaskich, ustawiana na podstawie betonowej do montażu klinowego.
Pozwala na zachowanie odstępu separującego zgodnie z normą DIN EN 62305-3 (VDE 0185-305-3).
Iglice odgromowe są zwymiarowane zgodnie z
Eurokodem Iglica odgromowa GRP/Al, wykonanie zaprasowane, długość całkowita 1660 mm.
Iglice odgromowe GRP/Al
do tworzenia oddzielnych instalacji iglic odgromowych np.
na dachach płaskich, ustawiana na podstawie betonowej do montażu klinowego.
Pozwala na zachowanie odstępu separującego zgodnie z normą DIN EN 62305-3 (VDE 0185-305-3).
Iglice odgromowe są zwymiarowane zgodnie z
Eurokodem 1 (DIN EN 1991-1-4 + DIN EN 1991-1-4/NA).
Wspornik dystansujący z tworzywa sztucznego wzmocnionego włóknem szklanym (GRP), Ø16 mm,
współczynnik materiałowy km = 0,7, odporna na promieniowanie UV, kolor jasnoszary
Wykonanie zaprasowane
Wspornik dystansujący z tworzywa sztucznego wzmocnionego włóknem szklanym (GRP), Ø16 mm,
współczynnik materiałowy km = 0,7, odporna na promieniowanie UV, kolor jasnoszary
Wykonanie zaprasowane
Długość całkowita: 2000 mm
Długość izolacyjna: 975 mm
Materiał iglicy odgromowej / gniazda: Al
Materiał elementu dystansującego: GRP
Maksymalne obciążenie wiatrem (1 podstawa 17 kg, odstęp między uchwytami 1000 mm, aluminium Ø8 mm): 93 km/h
Maksymalne obciążenie wiatrem (2 podstawy 17 kg, odstęp między uchwytami 1000 mm, aluminium Ø8 mm): 105 km/h
Odniesienie do norm: DIN IEC/TS 62561-8 (VDE V 0185-561-8)

Producent: DEHN
Typ: FS 16 10 2000 GFK AL
Nr kat.: 106210
lub podobny.

Certyfikaty

 

Dane techniczne

Długość całkowita (l1) 2000 mm
Długość izolacyjna (l2) 975 mm
Materiał iglicy odgromowej / gniazda Al
Maksymalne obciążenie wiatrem (1 podstawa 17 kg, odstęp między uchwytami 1000 mm, aluminium Ø8 mm) 93 km/h
Maksymalne obciążenie wiatrem (2 podstawy 17 kg, odstęp między uchwytami 1000 mm, aluminium Ø8 mm) 105 km/h
Odniesienie do norm DIN IEC/TS 62561-8 (VDE V 0185-561-8)

Produkt 106210 został dodany do notatnika.

Do koszyka dodano produkt 106210.


Zmienne z gwintem M10

np. na iglicę odgromową art. nr 101 001, iglicę odgromową z zaciskiem MV art. nr 105 071 (do punktów przecięcia) lub zaciskiem MV do naciągu przewodu art. nr 105 079.

2 Produkty

Nr kat. 106217 DIST 16 M10 675 GFK

GTIN / EAN 4013364128811, Nr taryfy celnej (EU): 85389099, Waga brutto: 280.00 g, Jednostka opakowaniowa: 10.00 szt.

Wcześniejszy produkt

Rysunki

Informacje dodatkowe

Iglica odgromowa GRP/Al z gwintem M10, długość całkowita 675 mm
Iglice odgromowe GRP/Al
do tworzenia oddzielnych instalacji iglic odgromowych np. na dachach płaskich, ustawiana na podstawie betonowej do montażu klinowego.
Pozwala na zachowanie odstępu separującego zgodnie z normą DIN EN 62305-3 (VDE 0185-305-3).
Wspornik dystansujący z tworzywa sztucznego wzmocnionego włóknem szklanym (GRP), Ø16 mm, współczynnik materiałowy km = 0,7
odporna na promieniowanie UV, kolor jasnoszary
Wykonanie zmienne z gwintem M10
np. na iglicę odgromową art. nr 101 001, iglicę odgromową z zaciskiem MV art. nr 105 071
Długość całkowita: 675 mm
Długość izolacyjna: 635 mm
Materiał iglicy odgromowej / gniazda: Al
Materiał elementu dystansującego: GRP
Odniesienie do norm: DIN IEC/TS 62561-8 (VDE V 0185-561-8)

Producent: DEHN
Typ: DIST 16 M10 675 GFK
Nr kat.: 106217
lub podobny.

Certyfikaty

 

Dane techniczne

Długość całkowita (l1) 675 mm
Długość izolacyjna (l2) 635 mm
Materiał iglicy odgromowej / gniazda Al
Odniesienie do norm DIN IEC/TS 62561-8 (VDE V 0185-561-8)

Produkt 106217 został dodany do notatnika.

Do koszyka dodano produkt 106217.

Nr kat. 106220 DIST 16 M10 1015 GFK

GTIN / EAN 4013364128828, Nr taryfy celnej (EU): 85389099, Waga brutto: 410.00 g, Jednostka opakowaniowa: 10.00 szt.


Rysunki

Informacje dodatkowe

Iglica odgromowa GRP/Al z gwintem M10, długość całkowita 1015 mm
Iglice odgromowe GRP/Al
do tworzenia oddzielnych instalacji iglic odgromowych np. na dachach płaskich, ustawiana na podstawie betonowej do montażu klinowego.
Pozwala na zachowanie odstępu separującego zgodnie z normą DIN EN 62305-3 (VDE 0185-305-3).
Wspornik dystansujący z tworzywa sztucznego wzmocnionego włóknem szklanym (GRP), Ø16 mm, współczynnik materiałowy km = 0,7
odporna na promieniowanie UV, kolor jasnoszary
Wykonanie zmienne z gwintem M10
np. na iglicę odgromową art. nr 101 001, iglicę odgromową z zaciskiem MV art. nr 105 071
Długość całkowita: 1015 mm
Długość izolacyjna: 975 mm
Materiał iglicy odgromowej / gniazda: Al
Materiał elementu dystansującego: GRP
Odniesienie do norm: DIN IEC/TS 62561-8 (VDE V 0185-561-8)

Producent: DEHN
Typ: DIST 16 M10 1015 GFK
Nr kat.: 106220
lub podobny.

Certyfikaty

 

Dane techniczne

Długość całkowita (l1) 1015 mm
Długość izolacyjna (l2) 975 mm
Materiał iglicy odgromowej / gniazda Al
Odniesienie do norm DIN IEC/TS 62561-8 (VDE V 0185-561-8)

Produkt 106220 został dodany do notatnika.

Do koszyka dodano produkt 106220.


Powrót na górę