Your dashboard services.
Register to access all tools.

Uziemienie anten – systemy telekomunikacyjne

Obejma taśmowa do połączeń wyrównawczych piorunochronnych rur (np. masztów antenowych) spełniająca wymagania normy DIN EN 62305-3 (VDE 0185-305-3).

Z bezstopniowo regulowaną taśmą napinającą, odpowiednia na 1 lub 2 przyłącza przewodów i do połączeń szeregowych.

Kompletna obejmy taśmowe do anten

Przyłącze na:
1 przewód, drut okrągły Ø10 mm lub 1-2 przewody, drut okrągły Ø6-8 mm lub 4-50 mm2 (drut / wielodrutowo).

2 Produkty

Nr kat. 540103 BRS 16.89 AK1X10 2X6.8 V2A

GTIN / EAN 4013364101302, Nr taryfy celnej (EU): 85359000, Waga brutto: 119.71 g, Jednostka opakowaniowa: 10.00 szt.

Wcześniejszy produkt

Rysunki

Informacje dodatkowe

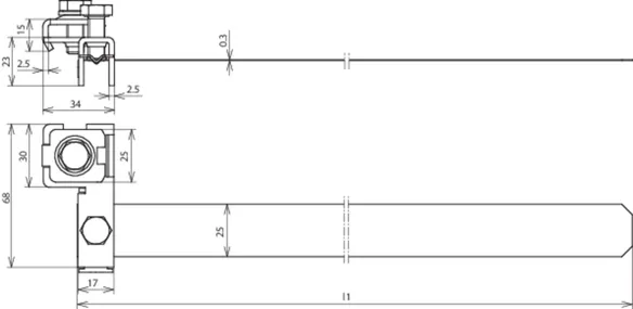
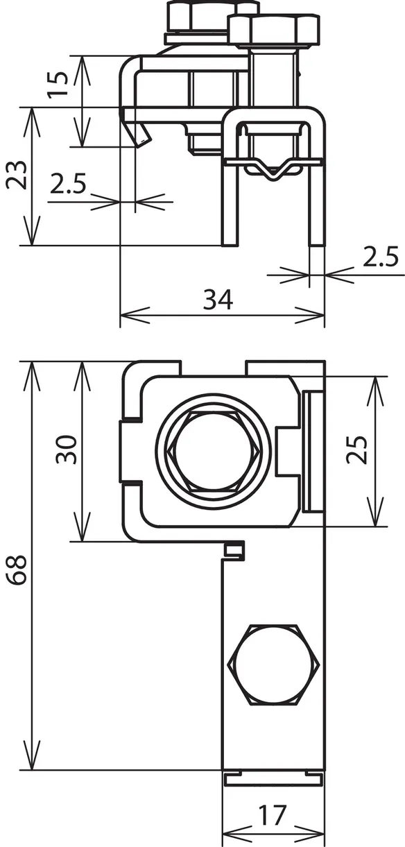
Obejma taśmowa do anten, stal nierdzewna (27-89mm)
Obejma taśmowa do anten do obciążalnego prądem piorunowym podłączania
np. masztów antenowych i do
połączenie wyrównawcze piorunochronne
zgodnie z normą DIN EN 62305-3 (VDE 0185-305-3)
Z bezstopniowo regulowaną taśmą napinającą, odpowiednia na 1 lub 2
przyłącza przewodów i do połączeń szeregowych
do przyłączenia: 1 przewodu, drut okrągły 10 mm,
1 lub 2 przewodów, drut okrągły 6-8 mm lub 4-50 mm2
Materiał: stal nierdzewna
Zakres zacisku (rura Ø): 16-89 mm (3/8-3'')
Śruba: M8 x 20 mm
Materiał śruby: stal nierdzewna
Wymiary taśmy: 330 x 25 x 0,3 mm
Spełnia wymagania normy: DIN EN 62561-1

Producent: DEHN
Typ: BRS 16.89 AK1X10 2X6.8 V2A
Nr kat.: 540103
lub podobny.

Certyfikaty

 

Dane techniczne

Materiał stal nierdzewna
Zakres zacisku (rura Ø) 16-89 mm (3/8-3'')
Śruba di M8 x 20 mm
Materiał śruby stal nierdzewna
Wymiary taśmy (l1 x sz x gł) 330 x 25 x 0,3 mm
Spełnia wymagania normy DIN EN 62561-1
*) Dokładne przyporządkowanie znajduje się w certyfikacie testu.

Produkt 540103 został dodany do notatnika.

Do koszyka dodano produkt 540103.

Nr kat. 540100 BRS 16.168 AK1X10 2X6.8 V2A

GTIN / EAN 4013364094109, Nr taryfy celnej (EU): 85359000, Waga brutto: 133.00 g, Jednostka opakowaniowa: 10.00 szt.


Rysunki

Informacje dodatkowe

Obejma taśmowa do anten ze stali nierdzewnej (27-168mm)
Obejma taśmowa do anten do obciążalnego prądem piorunowym podłączania
np. masztów antenowych i do
połączenie wyrównawcze piorunochronne
zgodnie z normą DIN EN 62305-3 (VDE 0185-305-3)
Z bezstopniowo regulowaną taśmą napinającą, odpowiednia na 1 lub 2
przyłącza przewodów i do połączeń szeregowych
do przyłączenia: 1 przewodu, drut okrągły 10 mm,
1 lub 2 przewodów, drut okrągły 6-8 mm lub 4-50 mm2
Materiał: stal nierdzewna
Zakres zacisku (rura Ø): 16-168 mm (3/8-6'')
Śruba: M8 x 20 mm
Materiał śruby: stal nierdzewna
Wymiary taśmy: 570 x 25 x 0,3 mm
Spełnia wymagania normy: DIN EN 62561-1

Producent: DEHN
Typ: BRS 16.168 AK1X10 2X6.8 V2A
Nr kat.: 540100
lub podobny.

Certyfikaty

 

Dane techniczne

Materiał stal nierdzewna
Zakres zacisku (rura Ø) 16-168 mm (3/8-6'')
Śruba di M8 x 20 mm
Materiał śruby stal nierdzewna
Wymiary taśmy (l1 x sz x gł) 570 x 25 x 0,3 mm
Spełnia wymagania normy DIN EN 62561-1
*) Dokładne przyporządkowanie znajduje się w certyfikacie testu.

Produkt 540100 został dodany do notatnika.

Do koszyka dodano produkt 540100.


Głowica mocująca osobno

Do łączenia z taśmą napinającą (art. nr 540 901).
Przyłącze na: 1 przewód, drut okrągły Ø10 mm lub 1-2 przewody, drut okrągły Ø6-8 mm lub 4-50 mm2 (drut / wielodrutowo).

1 Produkt

Nr kat. 540110 SPK 25 BRS AK1X10 2X6.8 V2A

GTIN / EAN 4013364094116, Nr taryfy celnej (EU): 85359000, Waga brutto: 100.00 g, Jednostka opakowaniowa: 50.00 szt.


Rysunki

Informacje dodatkowe

Obejma taśmowa do anten, głowica mocująca osobno, stal nierdzewna
Obejma taśmowa do anten do obciążalnego prądem piorunowym podłączania
np. masztów antenowych i do
połączenie wyrównawcze piorunochronne
zgodnie z normą DIN EN 62305-3 (VDE 0185-305-3)
Z bezstopniowo regulowaną taśmą napinającą, odpowiednia na 1 lub 2
przyłącza przewodów i do połączeń szeregowych
do przyłączenia: 1 przewodu, drut okrągły 10 mm,
1 lub 2 przewodów, drut okrągły 6-8 mm lub 4-50 mm2
Głowica mocująca osobno,
do łączenia z taśmą napinającą (art. nr 540 901)
Materiał: stal nierdzewna
Śruba: M8 x 20 mm
Materiał śruby: stal nierdzewna
Spełnia wymagania normy: DIN EN 62561-1

Producent: DEHN
Typ: SPK 25 BRS AK1X10 2X6.8 V2A
Nr kat.: 540110
lub podobny.

Certyfikaty

 

Dane techniczne

Materiał stal nierdzewna
Śruba di M8 x 20 mm
Materiał śruby stal nierdzewna
Spełnia wymagania normy DIN EN 62561-1
*) Dokładne przyporządkowanie znajduje się w certyfikacie testu.

Produkt 540110 został dodany do notatnika.

Do koszyka dodano produkt 540110.


Taśma napinająca

Do przycinania na długość np. za pomocą nożyc do blachy.

1 Produkt

Nr kat. 540901 SPB 25X0.3 L100M V2A

GTIN / EAN 4013364076525, Nr taryfy celnej (EU): 73269098, Waga brutto: 6.30 kg, Jednostka opakowaniowa: 1.00 szt.


Rysunki

Informacje dodatkowe

Obejmy taśmowe do strefy zagrożonej wybuchem, taśma napinająca
Obejmy taśmowe uziemiające do łączenia z różnymi
elementami mocującymi
lub częściami przyłączeniowymi
Materiał: stal nierdzewna
Wymiary taśmy: 25 x 0,3 mm

Producent: DEHN
Typ: SPB 25X0.3 L100M V2A
Nr kat.: 540901
lub podobny.

Certyfikaty

 

Dane techniczne

Materiał stal nierdzewna
Wymiary taśmy (sz x gł) 25 x 0,3 mm

Produkt 540901 został dodany do notatnika.

Do koszyka dodano produkt 540901.


Powrót na górę